

摆动部件防撞击试验装置
产品型号
更新时间
2025-04-22厂商性质
浏览次数
1933详细介绍
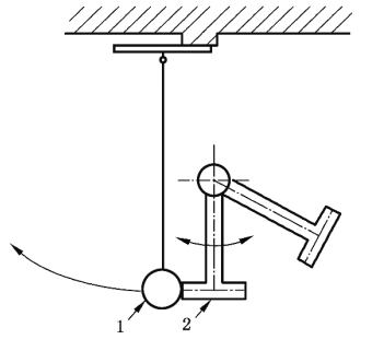
F.2.2 测试块
为一个直径为 160 mm±5 mm.重 4.6 kg±0.05 kg 的铝球。铝球表面粗糙度小于 25 pμm,使撞击
面和加速度计之间的撞击均匀传递。
F.2.3 加速度计
能测量三轴加速度。安装在测试块(F.2.2)的重心处,敏感轴与测试块运动方向误差不大于2°。
F.2.4 链条
数量2根、直径6mm、长1600 mm(从转轴到测试块)。
F.3 试验程序
F.3.1 试验准备
悬挂测试块,调整测试块与摆动部件间的位置,使测试块位于摆动部件的运动平面内,并且摆动部
件前端正好碰到测试块,与测试块重心同高。
F.3.2 释放摆动部件
将摆动部件提到60°±1°释放位置释放,摆幅小于60°的按最大摆幅位置,撞击测试块。
F.3.3 收集数据
收集10次撞击效果符合要求的撞击数据。测量并记录撞击加速度的峰值。
产品咨询
